Typ: Kabelloses Audio
Zertifizierung: Andere
Ausgangsleistung: 160 mW
Size:48,1*33,9
NiceRF hat das neue drahtlose Audiomodul SA326 mit geringer Latenz, großer Reichweite, hoher Abtastrate und hoher Wiedergabetreue auf den Markt gebracht. Die Produkte der SA326-Serie sind in die Sendemodule SA326-TX und SA326-RX unterteilt. Dieses Produkt ist eine Anwendungsplatine für die Module SA316-TX und SA316-RX. Es ist nach dem Einschalten betriebsbereit. Die Frequenz des Moduls lässt sich direkt über die PC-Software einstellen. Klanggröße und andere Parameter vereinfachen die Entwicklung erheblich. Dieses Produkt wird häufig bei hohen Anforderungen an die Klangqualität eingesetzt.
Parameter | Testbedingungen | Min . | Typ . | Max . | Einheit |
Betriebsspannungsbereich | 3.3 | 4.2 | 5 | V | |
Arbeitstemperaturbereich | -20 | 25 | 60 | ℃ | |
Betriebsfrequenzbereich | @UHF | 500 | 980 | MHz | |
@VHF | 160 | 270 | MHz | ||
Verzögerung bei Audioübertragung und -empfang | 4 | MS | |||
Baudrate der seriellen Schnittstelle | 9600 | bps | |||
Stromaufnahme | |||||
Ruhestrom ( SA326-RX) | < 45 | uA | |||
Ruhestrom ( SA326F30-TX ) | < 20 | uA | |||
Empfangsstrom ( SA326-RX) | @VCC = 4,2 V | < 1 40 | mA | ||
Sendestrom ( SA326-TX ) | @ Keine Übertragung | < 75 | mA | ||
@ Während der Übertragung | <1 20 | mA | |||
Emissionsstrom ( SA326F30-TX ) | @Keine Übertragung, 5 V | < 75 | mA | ||
@ Während der Übertragung , 5 V 30 dBm | < 700 | mA | |||
Sendeparameter | |||||
Sendeleistung | @VCC = 4,2 V | 9 | 1 0 | 11 | dBm |
@VCC = 5,0 V | 29 | 30 | 31 | dBm | |
Sendeleistungsbereich | @VCC = 4,2 V | 0 | 10 | dBm | |
@VCC = 5,0 V | 20 | 30 | dBm | ||
Emissionsbandbreite ( BW) | 300 | KHz | |||
Nachbarkanal-Leistungsverhältnis ( ACPR ) | @600KHZ | -6 0 | dB c | ||
Maximale Mikrofon-Eingangsspannung | 0,3 | 1. 5 | Vrms | ||
Audio-Frequenzgangbereich | 30 | 20.000 | Hz | ||
Empfangsparameter | |||||
Empfangsempfindlichkeit | - 96 | dBm | |||
Audioausgangsamplitude (differenziell) | 400 | mV eff | |||
Antriebswiderstand des Audioausgangs | 600 | Ohm | |||
LOUT+,ROUT+ Antriebswiderstand | 16-32 | Ohm | |||
SPKP,SPKN -Fahrwiderstand | 4-8 | Ohm | |||
Signal-Rausch-Verhältnis (SNR) | @1KHz , | 86 | dB | ||
Gesamte harmonische Verzerrung (THD) | @ 48K Abtastrate | 0,07 | % | ||
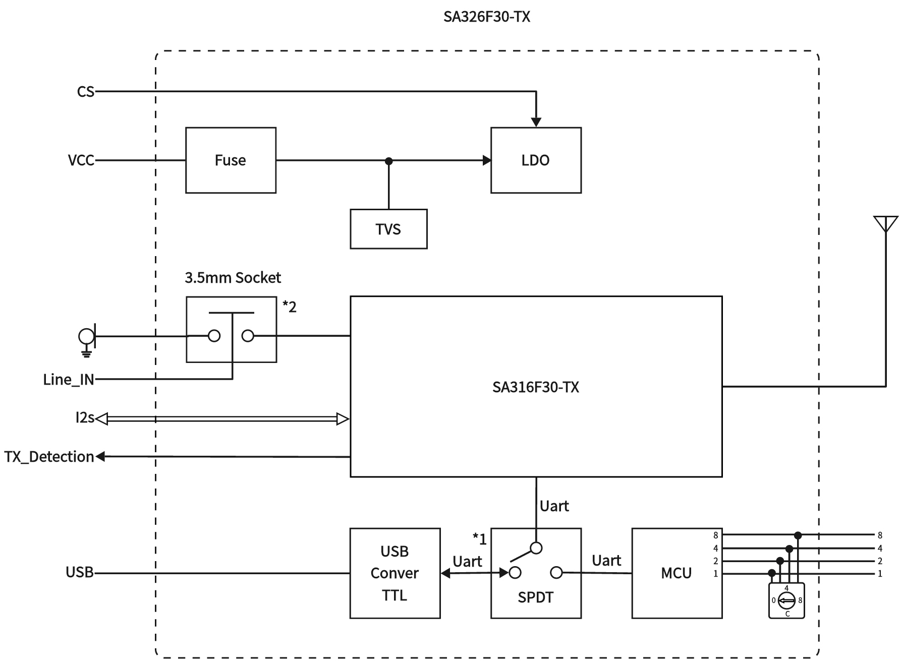
SA326F30-TX

SA326-RX

SA326F30-TX

Pin-Nr . | Pin-Name | E/A | Ebene Standard | Beschreibung |
1,2,8,12,18 | Masse | 0 | Verbinden Sie den Minuspol der Stromversorgung | |
3 | NC | |||
4 | 1 | ICH | 0–3,3 V | Frequenz 16 Kanal 8421 Kodierung, die erste Ziffer, Standard "1" Ausgabe |
5 | 2 | ICH | 0–3,3 V | Frequenz 16-Kanal 8421-Kodierung, das zweite Bit, Standard "1"-Ausgabe |
6 | 4 | ICH | 0–3,3 V | Frequenz 16 Kanal 8421 Kodierung, das 4. Bit, Standard "1" Ausgabe |
7 | 8 | ICH | 0–3,3 V | Frequenz 16 Kanal 8421 Kodierung, das 8. Bit, Standard "1" Ausgabe |
9 | GPIO4 | E/A | 0–3,3 V | GPIO4 mit internem Audiochip |
10 | GPIO3 | E/A | 0–3,3 V | Verbinden Sie sich mit GPIO3 von SA316 F30 -TX, es kann als SDIN konfiguriert werden, wenn Sie den I2S-Modus verwenden |
11 | VCC | 3,3-5 V | Der Pluspol der externen Stromversorgung. (Typischer Wert 4 V) | |
13 | CS | ICH | 0-5 V | Intern mit dem EN des LDO verbunden, Pulldown der Ruhe, interner Pullup, Standardausgang "1" |
14 | TX_DE | O | 0–3,3 V | Der Übertragungsanzeigestift ist beim Senden hoch und beim Nicht-Senden niedrig. |
15 | GPIO1 | E/A | 0–3,3 V | Intern mit GPIO1 von SA326F30-TX verbunden , kann bei Verwendung des I2S-Modus als SCK konfiguriert werden |
16 | GPIO0 | E/A | 0–3,3 V | Intern mit GPIO0 von SA326F30-TX verbunden , kann bei Verwendung des I2S-Modus als LRCK konfiguriert werden |
17 | GPIO2 | E/A | 0–3,3 V | Intern mit GPIO2 von SA326F30-TX verbunden , bei Verwendung des I2S-Modus kann es als MCLK konfiguriert werden |
19 | MIC_N | ICH | Der Minuseingang des Mikrofons kann mit dem Minuspol des Mikrofons verbunden oder geerdet werden. | |
20 | MIC_P | ICH | Pluspol des Mikrofoneingangs (das beste Signal ist kleiner als 300 mVeff) |
SA326-RX

| Pin-Nr. | Pin-Name | E/A | Niveaustandard | Beschreibung |
| 1 | 1 | ICH | 0–3,3 V | Frequenz 16 Kanal 8421 Kodierung, die erste Ziffer, Standard "1" Ausgabe |
| 2 | 2 | ICH | 0–3,3 V | Frequenz 16-Kanal 8421-Kodierung, das zweite Bit, Standard "1"-Ausgabe |
| 3 | 4 | ICH | 0–3,3 V | Frequenz 16 Kanal 8421 Kodierung, das 4. Bit, Standard "1" Ausgabe |
| 4 | 8 | ICH | 0–3,3 V | Frequenz 16 Kanal 8421 Kodierung, das 8. Bit, Standard "1" Ausgabe |
| 5 | GPIO4 | E/A | 0–3,3 V | Verbinden Sie sich mit GPIO4 von SA316-RX |
| 6 | GPIO3 | E/A | 0–3,3 V | Intern mit GPIO3 von SA316-RX verbunden, kann es bei Verwendung des I2S-Modus als MCLK konfiguriert werden |
| 7 | GPIO2 | E/A | 0–3,3 V | Intern mit GPIO2 von SA316-RX verbunden, kann bei Verwendung des I2S-Modus als SDIO konfiguriert werden |
| 8 | CS | E/A | 0–3,3 V | Intern mit dem EN des LDO verbunden, Pulldown der Ruhe, interner Pullup, Standardausgang "1" |
| 9 | Masse | ICH | 0 | Verbinden Sie den Minuspol der Stromversorgung |
| 10 | VCC | ICH | 3,3-6 V | Der Pluspol der externen Stromversorgung. (Typischer Wert 4 V) |
| 11 | GPIO1 | E/A | 0–3,3 V | Intern mit GPIO1 von SA316-RX verbunden, kann bei Verwendung des I2S-Modus als SCK konfiguriert werden |
| 12 | GPIO0 | E/A | 0–3,3 V | Intern mit GPIO0 von SA316-RX verbunden, kann bei Verwendung des I2S-Modus als LRCK konfiguriert werden |
| 13 | Masse | ICH | 0 | Verbinden Sie den Minuspol der Stromversorgung |
| 14 | LOUL LOUT+ | O | Verbinden Sie sich mit LOUT+ des SA316-RX, der Kopfhörer direkt ansteuern kann | |
| 15 | Masse | ICH | 0 | Verbinden Sie den Minuspol der Stromversorgung |
| 16 | ROUT+ | O | Verbinden Sie sich mit ROUT+ des SA316-RX, der Kopfhörer direkt ansteuern kann | |
| 17 | Masse | ICH | 0 | Verbinden Sie den Minuspol der Stromversorgung |
| 18 | VOL-ADJ | ICH | 3,33. 3,3 V | Lautstärkeregler-Pin, das Modul wurde mit einem einstellbaren 50K-Ohm-Potentiometer verbunden, und ein externes Potentiometer kann angeschlossen werden |
| 19 | SPKN | O | Ausgangspin des Leistungsverstärkers, externer 4-Ohm- oder 8-Ohm-2-W-Lautsprecher | |
| 20 | SPKP | O | Ausgangspin des Leistungsverstärkers, externer 4-Ohm- oder 8-Ohm-2-W-Lautsprecher |
SA326F30-TX

SA326-RX

Datenschutzrichtlinie
· Datenschutzrichtlinie
Derzeit sind keine Inhalte verfügbar
E-Mail: sales@nicerf.com
Tel.:+86-755-23080616