Ausgangsleistung: 1 mW
Size:13,5*22,2
UWB3000F00-X1 basiert auf der DW3000-IC-Serie von Qorvo, einem vollständig integrierten Single-Chip-Ultrabreitband-Transceiver (UWB) mit geringem Stromverbrauch und niedrigen Kosten, der dem Standardprotokoll IEEE 802.15.4-2020 entspricht. Er kann in Zweiwege-Entfernungsmess- und TDoA-Systemen eingesetzt werden und bietet eine Positionierungsgenauigkeit von 10 Zentimetern.
Parameter | Zustand | Mindest. | Typ. | Max. | Einheit |
Versorgungsspannung | 2.4 | 3.3 | 3.6 | V | |
Betriebstemperaturbereich | - 40 | 25 | 85 | ℃ | |
Frequenzbereich | Kanal 5 | 6489,6 | MHz | ||
Kanal 9 | 7987.2 | MHz | |||
Datenrate | 850.000 | 6,8 Millionen | bps | ||
Stromverbrauch | |||||
Schlafstrom | <1 | u A | |||
Dauerempfangsstrom | 72 | mA | |||
Kontinuierlicher Sendestrom (Datenpaket) | 67 | m A | |||
Bereichsstrom | Durchschnittlicher Strom | 21 | mA | ||
Spitzenstrom | 72 | mA | |||
HF-Parameter r | |||||
Sendeleistung | @VCC = 3,3 V | -30 | 0 | dBm | |
Tx-Bandbreite ( BW) | 499,2 | MHz | |||
Empfangsparameter | |||||
Rx-Empfindlichkeit | @850 Kbit/s | - 100 | dBm | ||
@6,8 Mbit/s | -94 | dBm | |||
Unterstützt CH5 und CH9 (6489,6 MHz und 7987,2 MHz)
Datenraten von 850 Kpbs und 6,8 Mbit/s
Paketlänge bis zu 1023 Bytes
Unterstützt 2-Wege-Entfernungsmessung und TDoA-Positionierungsschemata
Programmierbare Sendeleistung
Asset-Ortung mit einer Genauigkeit von 10 cm
Personaleinsatzplanung in der industriellen Großproduktion
Verschiedene Indoor-Positionierungsszenarien
Positionierung im Untertagekohlebergwerk
Positionierung des Krankenhauspersonals


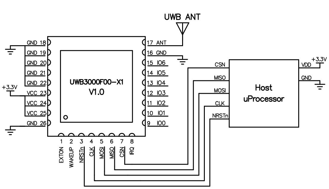
Pin-Nr. | Pin-Definition | E/A | Beschreibung |
1 | EXTON | TUN | Externe Geräteaktivierung. Wird beim Aufwachen aktiviert und bleibt aktiv, bis das Gerät in den Ruhemodus wechselt. Die Aktivierung kann zur Steuerung eines externen DC-DC-Wandlers oder anderer Schaltungen verwendet werden, die im Ruhemodus des Geräts nicht benötigt werden, um den Stromverbrauch zu minimieren. Weitere Informationen finden Sie im Datenblatt des DW3000. |
2 | AUFWACHEN | DI | Wenn der WAKEUP-Pin auf einen gültigen High-Pegel eingestellt ist, holt er den DW3000 aus dem Ruhe- oder DEEPSLEEP-Modus in den aktiven Modus. Wird dieser Pin nicht verwendet, kann er geerdet werden. |
3 | NRSTn | DIO | Reset-Pin. Aktiv-Low-Ausgang. Kann von einem externen Open-Drain-Treiber auf Low gezogen werden, um das Gerät zurückzusetzen |
4 | CLK | DI | SPI-Takt |
5 | MOSI | DI | SPI-Dateneingabe |
6 | MISO | TUN | SPI-Datenausgabe |
7 | CSN | DI | SPI-Chipauswahl. Dies ist ein Active-Low-Enable-Eingang. Eine fallende Flanke an SPICSn zeigt den Beginn einer neuen SPI-Transaktion an. SPICSn kann auch als Wecksignal dienen, um den DW3000 aus dem Ruhe- oder Tiefschlafmodus zu holen. |
8 | IRQ | DI | Interrupt-Anforderungsausgabe vom DWM3000 an den Host-Prozessor. Standardmäßig ist IRQ ein aktiv-hoher Ausgang, kann aber bei Bedarf auch als aktiv-niedrig konfiguriert werden. Für einen korrekten Betrieb im SLEEP- und DEEPSLEEP-Modus sollte er als aktiv-hoch konfiguriert werden. Dieser Pin ist im SLEEP- und DEEPSLEEP-Zustand potentialfrei und kann falsche Interrupts verursachen, wenn er nicht auf Low gezogen wird. Wird die IRQ-Funktion nicht verwendet, kann dieser Pin als Allzweck-E/A (GPIO8) umkonfiguriert werden. |
9 | GPIO0 | DIO | Allgemeine E/A-Pins – Einzelheiten finden Sie im Chip-Datenblatt |
10 | GPIO1 | DIO | Allzweck-E/A-Pin, Einzelheiten finden Sie im Chip-Datenblatt . |
11 | GPIO2 | DIO | Allzweck-E/A-Pin, Einzelheiten finden Sie im Chip-Datenblatt |
12 | GPIO3 | DIO | Allzweck-E/A-Pin, Einzelheiten finden Sie im Chip-Datenblatt |
13 | GPIO4 | DIO | Allzweck-E/A-Pin, Einzelheiten finden Sie im Chip-Datenblatt |
14 | GPIO5 | DIO | Allzweck-E/A-Pin, Einzelheiten finden Sie im Chip-Datenblatt |
15 | GPIO6 | DIO | Allzweck-E/A-Pin, Einzelheiten finden Sie im Chip-Datenblatt |
16,18,19, 20,21,22,26 | GND | Mit der Stromerde (GND) verbinden | |
17 | AMEISE | Externer 50Ω-Antennenanschluss | |
23,24,25 | VCC | An den Pluspol der Stromversorgung anschließen (2,4–3,6 V) |

Datenschutzrichtlinie
· Datenschutzrichtlinie
Derzeit sind keine Inhalte verfügbar
E-Mail: sales@nicerf.com
Tel.:+86-755-23080616