Aug . 2023
Das ANT+-Protokoll ist eine drahtlose Übertragungstechnologie mit geringem Stromverbrauch, die hauptsächlich für die Datenübertragung zwischen Fitnessgeräten, Sportsensoren und Smart-Geräten verwendet wird. Der Betrieb erfolgt im 2,4-GHz-Band und zeichnet sich durch geringen Stromverbrauch, geringe Latenz und hohe Zuverlässigkeit aus. Das ANT+-Protokoll findet breite Anwendung in der Fitnessbranche, beispielsweise zur Herzfrequenzüberwachung, Schrittzählung und Bewegungsverfolgung. Daher müssen ANT+-Module bei kompakten Sportgeräten nicht nur den Stromverbrauch berücksichtigen, sondern auch auf ein miniaturisiertes Moduldesign achten. Ein kleinformatiges Moduldesign erleichtert die Integration und trägt dazu bei, das Gesamtvolumen und -gewicht der Geräte zu reduzieren. Darüber hinaus besteht Bedarf an maßgeschneiderten Modullösungen für spezifische Anwendungsszenarien.

Das RF51422 -Modul ist ein drahtloses ANT+-Transceivermodul mit UART-Schnittstelle, das mit einem leistungsstarken System-on-Chip (SOC)-Chip und einem integrierten ANT+-Protokollstapel ausgestattet ist. Kunden können die Kommunikation zwischen ANT+-Geräten direkt über Standard-UART-Befehle herstellen, was sie für die Entwicklung von Produkten geeignet macht, die mit dem Standard-ANT+-Protokoll kompatibel sind. Dieses Modul ist mit den meisten auf dem Markt erhältlichen ANT+-Protokollgeräten kompatibel. Das RF51422-Modul wird mit bleifreier Technologie unter Einhaltung der RoHS- und Reach-Standards hergestellt und getestet.

Das RF51422-Modul verfügt über die folgenden integrierten ANT+-Profile:
Diese integrierten ANT+-Profile ermöglichen es dem RF51422-Modul, eine Vielzahl von Anwendungen zu unterstützen und nahtlose Konnektivität und Datenübertragung für verschiedene ANT+-kompatible Geräte bereitzustellen.
Die Leistungsparameter von RF51422 sind wie folgt:
Parameter | Min | TP | Max | Einheit | Zustand |
Betriebsbedingungen | |||||
Versorgungsspannung | 1.8 | 3.3 | 3.6 | V |
|
Betriebstemperaturbereich | -40 | 25 | 85 | ℃ |
|
Aktueller Verbrauch | |||||
Emissionsstrom |
| 6.8 | 8 | mA | @3,3V |
Strom empfangen |
| 2.9 |
| mA | @3,3V |
Schlafstrom |
| 0,26 |
| mA |
|
Nach dem Einschalten des Moduls öffnet es automatisch den Scan-Kanal des ANT+-Geräts und gibt eine Startmeldung über die serielle Schnittstelle aus. Wenn zu diesem Zeitpunkt ANT+-Geräte Daten übertragen, gibt der serielle Port die empfangenen Daten kontinuierlich aus. Wenn Sie diesen Scan-Kanal nicht benötigen, können Sie ihn mit bestimmten Befehlen schließen. Das Modul verfügt über drei Arbeitsmodi: Normalmodus, Schlafmodus und Firmware-Upgrade-Modus. Ein weiteres Merkmal dieses Moduls ist seine kleine Bauform.
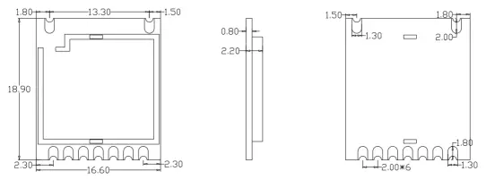
Mechanische Abmessungen des Moduls (Einheit: mm, Toleranz: ±0,01 mm)

Für das ANT+-Protokollschnittstellenmodul erfüllt das RF51422-Modul nicht nur die Anforderungen an geringen Stromverbrauch und kleines Design, sondern bietet auch maßgeschneiderte Lösungen, die auf spezifische Anforderungen zugeschnitten sind. Von den Abmessungen über die Funktionen bis zur Leistung, vom Design über die Entwicklung bis hin zum Testen konzentriert sich NiceRF auf die Erstellung maßgeschneiderter Lösungen, um die Qualität und Leistung der maßgeschneiderten Module sicherzustellen.
+86-755-23080616
sales@nicerf.com
Website: https://www.nicerf.com/
Adresse: 309-314, 3/F, Gebäude A, Hongdu-Geschäftsgebäude, Zone 43, Baoan Dist, Shenzhen, China
Datenschutzrichtlinie
· Datenschutzrichtlinie
Derzeit sind keine Inhalte verfügbar
E-Mail: sales@nicerf.com
Tel.:+86-755-23080616